

公司始终以“持续为客户提供更优的传感器,成为一流智能传感方案服务商”为使命
为客户提供高质量、高可靠性、高一致性、高性价比和完全自主可控的传感器
近期,我国在新能源建设体系发生了2件事,11月18日,中国电力企业联合会光热分会成立,12月15日,国家发改委、国家能源局联合发表《关于促进光热发电规模化发展的若干意见》,前者在促进光热行业标准化和提高工程化发展水平有其不可代替作用,后者则是起到了行业指导性作用。《意见》中强调光热发电不仅达到一定规模(到2030年总装机规模力争达到1500万千瓦左右),还要发挥其在新型电力系统中的支撑调节作用,光热电站被按照“可调度、可考核、可参考与市场结算”的电源来运行,这种调节能力,本质上就是电气系统的动态控制能力。
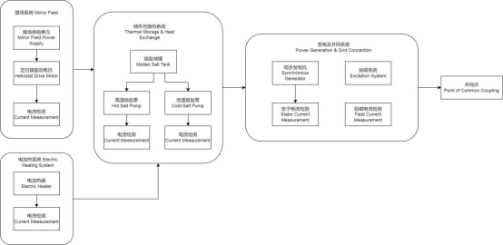
光热发电(Concentrated Solar Power, CSP)是一种通过聚光技术将太阳光能转化为热能,再通过热能驱动汽轮机发电的清洁能源技术。其核心原理是利用反射镜或透镜将太阳光聚焦到吸热器,加热传热介质(如熔盐、导热油等),产生高温高压蒸汽推动汽轮机旋转,最终带动发电机发电。从工程实现角度看,光热电站可拆成4个典型电气子系统协同实现其调节能力:
镜场系统也称定日镜场或反射镜场,其主要功能是收集并聚焦太阳辐射能,将其集中到接收器(吸热器)上,从而加热工质(如熔盐、水/蒸汽或导热油),驱动汽轮机发电。其组成部分主要有:
反射镜(Mirrors)
通常采用高反射率的镀银或镀铝玻璃镜。
形状根据CSP技术类型不同而异:
l 槽式系统:使用抛物面槽形反射镜。
l 塔式系统:使用平面或微凹的定日镜(heliostats)。
l 菲涅尔式系统:使用近似平面的长条形反射镜。
l 碟式系统:使用旋转抛物面反射镜。
支撑结构(Support Structure)
固定或可调角度的支架,用于安装和定位反射镜。
跟踪驱动系统(Tracking System)
通过电机、减速器和控制系统,使反射镜实时跟踪太阳位置,确保最大光能聚焦效率。
塔式系统通常采用双轴跟踪(方位角+高度角)。
槽式系统一般为单轴跟踪(东西向或南北向旋转)。
控制系统(Control System)
中央控制单元协调成千上万面镜子的运动,精确对准接收器。
包含太阳位置算法、通信网络、故障诊断等模块。
场地布局与光学设计
镜场布局需优化以减少阴影和遮挡(shadowing and blocking losses)。
常见布局:径向交错、螺旋形、棋盘式等。
镜场系统运行特点是负载数量多、电流等级分散、运行状态频繁变化
光热发电的一大核心优势在于其可集成储热系统,从而实现稳定、可调度的电力输出,克服了光伏和风电等间歇性可再生能源的不足。储热与换热系统是CSP电站实现“白天储热、夜间发电”或“削峰填谷”的关键技术环节。这一部分直接决定光热系统的调峰深度与响应速度,也是电流冲击与连续高负载并存的区域。
储热系统(Thermal Energy Storage, TES)
将镜场聚焦产生的高温热能通过传热流体(HTF)传递给储热介质,以显热、潜热或热化学方式储存,在需要时释放用于发电。目前主流采用显热储热,尤其是双罐熔盐储热系统。
主要储热类型
类型 | 原理 | 代表介质 | 特点 |
显热储热 | 利用介质温度升高储存热量 | 熔盐(如60% NaNO₃ + 40% KNO₃)、导热油、水/蒸汽、固体(混凝土、陶瓷) | 技术成熟、成本较低、效率中等 |
潜热储热(相变储热) | 利用相变过程(固↔液)吸/放热 | 熔融盐、金属合金、盐水合物 | 储能密度高,但成本高、循环稳定性待提升 |
热化学储热 | 利用可逆化学反应储/释热 | CaO/Ca(OH)₂、氨分解、金属氧化物 | 储能密度极高、可长期无损储存,尚处实验室阶段 |
换热系统(Heat Transfer System)
换热系统负责在镜场、储热系统与动力循环之间高效传递热量,是连接光热收集与发电的关键桥梁。
主要换热环节
换热环节 | 功能 | 常见换热器类型 |
太阳能→储热介质 | 将镜场HTF热量传给储热介质(如熔盐) | 管壳式、板式、印刷电路板式换热器(PCHE) |
储热介质→动力循环工质 | 用热熔盐加热给水/蒸汽,驱动汽轮机 | 蒸汽发生系统(预热器+蒸发器+过热器+再热器) |
辅助/备用系统换热 | 如电加热防凝、天然气补燃等 | 电加热器、燃气锅炉 |
发电与并网系统是将太阳能经热能转换为电能,并安全、稳定地接入电网的关键环节。相比光伏等波动性电源,CSP因具备储热能力和同步发电机特性,在电力系统中具有更强的可调度性和电网支撑能力。《意见》中提到的调频、惯量响应、黑启动,全部集中在这一层实现。
发电系统组成
CSP电站的发电部分本质上是一个热力发电系统,其核心包括:
1. 热力循环系统
主流技术:水/蒸汽朗肯循环(Rankine Cycle)
高温热源(如565°C熔盐) → 蒸汽发生器 → 产生高温高压蒸汽 → 驱动汽轮机
汽轮机带动同步发电机发电
排汽进入凝汽器冷凝 → 给水泵送回蒸汽发生器,完成循环
新兴方向:超临界二氧化碳(sCO₂)布雷顿循环
适用于700°C以上高温CSP(如新一代塔式或粒子吸热系统)
系统更紧凑、效率更高(理论>50%)
2. 汽轮发电机组
通常采用多级再热式汽轮机(高压缸+低压缸)
发电机为同步发电机(Synchronous Generator),具备:
l 电压调节能力
l 无功功率支撑
l 惯量响应(对电网频率稳定至关重要)
优势:与传统火电类似,可直接替代燃煤机组参与电网调频、调峰。
并网系统架构
CSP电站并网系统需满足国家/地区电网规范(如中国《GB/T 19964 光伏发电站接入电力系统技术规定》的类比要求,或专门针对CSP的导则)。
典型并网结构:
CSP并网的独特优势(vs. 光伏/风电)
在高比例可再生能源电网中,CSP被视为优质调节电源和系统稳定器。
光热发电(CSP)因其可调度性、转动惯量和储热能力,在新型电力系统中具备天然的“源–网–荷–储协同”优势。其“协同接口”是指CSP电站与电网、负荷、其他电源及储能之间进行能量流、信息流与控制流交互的技术节点与功能模块。
光热发电“系统价值”的释放,最终落在电流、电压、功率等电气量的高可靠感知与控制上。
在工程实现层面,调节能力最终体现为电气系统的动态控制能力,而电流检测是其中不可绕开的基础环节。
光热电站在以下工况间频繁切换:
l 集热充裕 → 高负荷发电
l 储热放能 → 夜间或低辐照运行
l 深度调峰 → 低负荷甚至近零功率
这要求电流检测方案能够在同一测点覆盖从小电流到大电流的连续测量区间,同时保持线性与稳定性。
参与调频、辅助服务时,系统控制环路对:
l 电流上升 / 下降斜率
l 采样延迟
l 信号相位滞后
高度敏感。
检测链路的动态性能将直接限制调节性能上限。
光热电站典型场景包括:
l 发电机及励磁系统
l 大功率泵、风机、电加热回路
l 并网与厂用电系统
电流检测方案必须满足长期电气隔离、安全冗余与标准合规性,而非仅关注测量精度。
20–30 年运行周期内:
l 高温、强辐照、沙尘环境
l 设备长期连续运行
l 运维成本敏感
这使得功耗、发热、老化漂移和可维护性成为选型的重要因素。
在实际工程中,电流检测方案并非“优劣对比”,而是场景匹配问题。
适用场景:
l 低电压、低电流
l PCB 级电流检测
l 成本高度敏感、空间受限场合
工程约束:
l 功耗与发热随电流平方增长
l 隔离需额外设计
l 不适合高功率连续运行回路
适用场景:
l 中高电流
l 需要电气隔离
l 工业级环境
工程约束:
l 对安装位置、导体布局敏感
l 需考虑磁饱和、温漂与抗干扰设计
适用场景:
l 极高电压等级
l 强电磁干扰环境
l 对隔离距离有极端要求的并网侧测量
工程约束:
l 成本高
l 结构复杂
l 维护与一致性要求高
在光热电站中,电流检测通常围绕以下几类测点展开:
l 镜场驱动与配电回路
更关注数量、稳定性与维护便利性
l 储热与换热系统电机回路
强调连续大电流能力与热稳定性
l 电加热系统
关注快速功率调节与测量动态性能
l 发电机、励磁及并网接口
优先考虑隔离等级、带宽与长期可靠性
不同测点采用不同方案,本身就是系统工程合理性的体现。
在调节型电源体系下,电流检测不再只是:
l 用于显示
l 用于保护
l 用于单一设备控制
而是直接参与到:
l 调节能力评估
l 辅助服务响应
l 市场化运行考核
从这个意义上看,电流检测方案的选型,已经成为光热电站系统能力设计的一部分,而非简单的器件替换问题。
1. 温度影响:霍尔传感器和磁通门传感器在高温环境下可能出现漂移,需选用宽温范围产品或加装散热装置。
2. 电磁干扰:罗氏线圈和霍尔传感器易受干扰,需采用屏蔽线缆和滤波器。
3. 长期稳定性:所有传感器均需定期校准,避免老化导致的精度下降。
4. 成本与性能平衡:高精度传感器(如磁通门)成本高,需根据实际需求权衡性价比。
光热发电规模化推进,表面上是装机、成本与政策问题,底层却是大量工程细节的重构。
其中,电流检测作为最基础的感知环节,正在被调节型运行模式重新定义其价值边界。
在新型电力系统中,能否“被调度、被考核、被信任”,往往取决于那些看似不起眼的工程选型。
样品及样本
邮箱:info@chipsense.net
电话: 13302876826
Copyright © 2025,www.chipsensor.cn,All rights reserved 津ICP备2022001441号
了解更多资讯