传感让世界更智能
芯森感受美好世界
客户至上、品质卓越、创新思变、诚信合作

公司始终以“持续为客户提供更优的传感器,成为一流智能传感方案服务商”为使命

为客户提供高质量、高可靠性、高一致性、高性价比和完全自主可控的传感器

关于我们
联系我们
News information
新闻中心
CM4A电流传感器:光伏逆变器的“电流哨兵”,如何在1000A+系统中实现精准守护?
来源: | 作者:芯森电子 | 发布时间: 2025-12-01 | 130 次浏览 | 分享到:

2025年1-7月,中国光伏发电装机量新增2.23亿千瓦,总规模突破10亿千瓦,达到11.10亿千瓦,相当于49个三峡电站的总装机量。在我国西部地广人希,拥有极佳的光照条件,很适合发展集中式光伏电站,在集中式光伏电站中大功率逆变器需要承受1000A+大电流,传统互感器精度低无法满足需求,下文介绍一种大功率电流传感器方案。

 

 

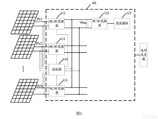
大功率光伏逆变器

大功率光伏逆变器一般是指100kW以上的逆变器,它是光伏发电系统的核心设备,主要用于将太阳能板产生的直流电(DC)转换为交流电(AC)并网或者供负载使用。根据功率和应用场景,主要分为两类:

集中式逆变器‌:功率范围500kW–3MW,适用于大型地面电站、工商业屋顶等场景,输出功率大、运维简单。

组串式逆变器‌:功率范围20kW–400kW,灵活性高,适应复杂地形

电流检测在逆变器中的关键需求

高精度

逆变器效率每提升0.1%,年发电量可增加0.5%1%(以1MW系统为例,年增收约¥3,0006,000)。

电流检测误差需控制在±0.5%以内,以确保MPPT(最大功率点跟踪)算法准确性。

宽量程

大功率逆变器启动/满载电流变化范围大(如10A2000A),要求传感器动态范围宽。

绝缘与安全

1500V系统下,漏电流检测需满足IEC 62109标准(漏电流≤30mA)。

您关注的绝缘故障风险:高压直流侧漏电可能导致系统停机或火灾。

响应速度

短路保护需在微秒级响应,要求传感器带宽达100kHz以上

环境适应性

户外工作温度范围-40℃85℃,湿度95%RH,传感器需具备高可靠性。

方案技术方案对比

以下是一个大功率光伏逆变器电流监测方案的对比分析,涵盖了几种常见的监测方法及其优缺点:

监测方案

原理

优点

缺点

适用场景

霍尔传感器监测

利用霍尔效应,通过霍尔元件检测电流产生的磁场变化,从而测量电流大小。

非接触式测量,对原电路影响小;响应速度快;精度较高。

成本相对较高;在高精度要求下,可能需要校准。

适用于对精度和响应速度要求较高的大功率光伏逆变器。

分流器监测

通过在电路中串联一个已知阻值的分流器,测量其两端的电压降来计算电流。

结构简单,成本低;测量范围宽;稳定性好。

接触式测量,需要断开电路串联分流器;在大电流情况下,分流器会发热,影响测量精度。

适用于对成本敏感,且电流范围相对固定的大功率光伏逆变器。

光纤传感器监测

利用光纤作为传感介质,通过测量光在光纤中传输特性的变化来检测电流。

抗电磁干扰能力强;绝缘性能好;适用于高压、大电流环境。

成本高;安装和调试相对复杂。

适用于高压、强电磁干扰环境下的大功率光伏逆变器电流监测。

罗氏线圈监测

基于电磁感应原理,罗氏线圈套在被测电流导体上,通过测量线圈中感应的电动势来计算电流。

柔性线圈,安装方便,无需断开电路;测量范围宽;响应速度快。

精度受线圈制作工艺和安装位置影响较大;需要配合积分器使用。

适用于对安装便捷性有要求,且电流变化较快的大功率光伏逆变器。

在选择大功率光伏逆变器电流监测方案时,需要综合考虑精度、成本、安装便捷性、抗干扰能力等因素,根据具体的应用场景和需求来选择最合适的方案。

 

CM4A电流传感器

CM4A基于闭环霍尔原理,通过副边线圈产生补偿电流,抵消原边磁场,实现零磁通检测,具备以下特性

高精度精度±0.3%,线性度±0.1%,可助力MPPT效率提升1%~3%

大电流测量测量范围±2100A,可覆盖1000A+系统

强绝缘耐压3.8kV,爬电距离20.6mm符合IEC 62109-1标准

快速响应响应时间0.5μs,频带宽度150kHz捕捉瞬态电流变化

 

CM4A在光伏逆变器中的应用场景

1. 组串式逆变器(20~100kW)

需求

· 监测直流侧输入电流(5001000A),确保MPPT算法准确性。

· 应对光照变化导致的瞬态电流波动

CM4A解决方案

· 精度±0.3%:避免MPPT误差导致的发电量损失。

· 响应时间0.5μs:捕捉云层遮挡等瞬态变化。

· 安装建议

垂直安装,母排水平穿过过孔(39.3×13.5mm)。

预留散热空间,避免长期高温(>85°C)影响寿命。

实例某华逆变器采用CM4AMPPT效率提升1.5%

2. 集中式逆变器(500kW以上)

需求

· 并联多个传感器监测4000A+电流,确保系统稳定性。

· 满足1500V系统的绝缘要求。

CM4A解决方案

· 多传感器并联:电流均匀分配,确保测量准确性。

· 绝缘耐压3.8kV:满足1500V系统安全要求。

· 挑战

需定制母排,确保与过孔尺寸匹配。

建议使用铜母排,降低接触电阻。

案例:某1MW光伏电站采用4CM4A并联,故障率降低80%

如何选择电流传感器

应用场景

推荐型号

测量范围(A)

精度

绝缘耐压(kV)

组串式逆变器

CM4A H00

±2100

±0.3%

3.8

集中式逆变器

CM4A H00(并联)

4000+

±0.3%

3.8

光伏+储能系统

CM4A H00

±2100

±0.3%

3.8

微型逆变器

AN1V

±100

±0.5%

2.5

案例分析:西北50MW光伏电站

· 问题:进口传感器故障率高,精度不稳定。

· 解决方案:替换为CM4A,精度提升至±0.3%,故障率降低30%

风险提示与未来趋势

1. 风险提示

· 安装错误:母排尺寸不匹配会导致精度下降。

· 散热不足:长期高温会缩短传感器寿命。

· 竞品替代:小型传感器(如AN1V)在微型逆变器中更具优势。

2. 未来趋势

· 更小型化:芯片级传感器(如ASIC方案)将成为趋势。

· 更高集成度:内置数字滤波、通信接口的传感器模块。

· 更高电压:适应1500V+系统的传感器需求增加。

 

结语

CM4A霍尔闭环电流传感器凭借高精度、大电流、强绝缘、快速响应等特性,成为光伏逆变器的优选方案,可谓是光伏逆变器的电流哨兵。在1000A+系统中,CM4A能够实现精准守护,提升发电效率,降低故障率。